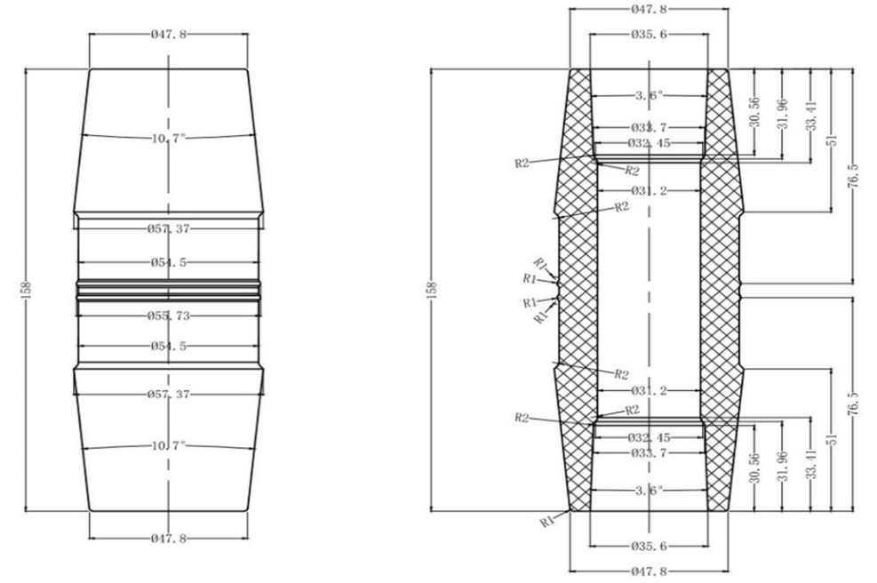
GY-C405 12KV/630A Side Expansion Connector (Inflatable Cabinet)

Material: Silicone/Copper

Instructions for use: The product is mainly used for side expansion cabinet busbar and cabinet use.

image.png

Recommended products

Recommended products